三菱PLC的編程答疑解惑為問答15題
三菱plc代理:海藍機電為您帶來多角度的解惑問答,詳情請見下文。
【1】PLC的輸出是不帶電源的嗎?比如說我要控制個110V繼電器。是不是要加個電源?怎么接線?
答:PLC的輸出端口僅僅是一個驅動負載的開關,本身是不帶電源的,如果要控制個110V繼電器,要加個電源。PLC的輸出端接到繼電器的線圈,繼電器還要接到220V交流電源,PLC的COM端也接到220V交流電源。
【2】為什么輸入端口的地址沒有X8,X9?
答:三菱PLC的輸入繼電器和輸出繼電器都是以八進制進行編址的,所以只能是X0-X7,而沒有X8,X9,X7后面的地址應該是X10。
【3】PLC輸出回路中需要加入保險絲嗎?
答:PLC輸出回路中需要加入保險絲,因為當負載一旦發生短路或故障時,容易燒壞觸點或晶體管,還會燒壞輸出電路所在的印制電路板,因此,需要在負載回路上加入起短路保護作用的保險絲。
【4】PLC我想利用編程口與變頻器通信,可以嗎?
答:三菱FXPLC可以使用自帶的編程口和變頻器通信,但是要使用變頻器通信專用指令。變頻器通信指令由于受到通信協議的限制,并不是對所有品牌的變頻器都適用,一般來說,三菱PLC的變頻器通信指令只能對三菱的變頻器進行通信控制,而不能對其他品牌的變頻器進行通信控制。
【5】FX2NPLC怎么和觸摸屏連接,要設置什么參數嗎?
答:FX2NPLC要和觸摸屏連接,可以用SC-09電纜的圓口插PLC的編程口,串口接到觸摸屏的串口上,此外,還要在觸摸屏端的系統參數設置里面設置好使用的PLC類型為FX2N、接口類型為RS232、以及設置端口、波特率等,在PLC編程軟件的參數里面設置的端口、波特率、校驗位、數據位、停止位等要與觸摸屏的設置保持一致,這樣就可以使FX2NPLC觸摸屏連接起來。
【6】老師FX2NPLC如果拔掉電池程序會不會丟失啊?
答:一般來說,因為PLC內部有充電電容,即使把電池拔掉,電容上充電電量也足夠RAM內的數據保持一段時間,所以如果拔掉電池后在短時間內(通常5分鐘)再將新電池換上去,程序是不會丟失的,如果拔掉電池長時間不更換新電池上去,程序則會丟失。
【7】咨詢一下三菱FX1N和2N的PLC可以各用哪款直接代替,三菱官網通知1N和2N都停產了,我們有些設備都是用的這兩款,想趕緊找下可以直接代替的備上,以備急用。
答:可以選擇FX3U的PLC,但是替換之前一定要查看原來的程序中所使用的指令在FX3UPLC是否支持,以及原來的程序中所使用的相關系統存儲器是否與FX3UPLC相同,如果相同才可以替換。
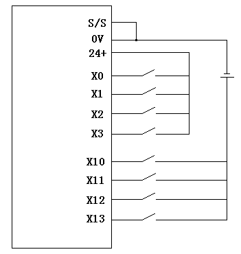
【8】老師,我想在FX3UPLC的輸入端口接入無源開關,XO—X3使用內置24V電源,而在X10—X13使用外置電源?應如何接線?
答:
【9】一個PNP型三線制接近開關,應如何接入FX3UPLC的輸入端口。
答:把PNP型三線制接近開關的信號輸出端接PLC的輸入口如X0,PNP型接近開關的0V端接到PLC上的0V端子,還要把S/S端子跟0V端子短接起來,PNP型接近開關的+24V端接到PLC上的24+端子。如果是外接24V電源的話,那么把PNP型三線制接近開關的信號輸出端接PLC的輸入口如X0,PNP型接近開關的0V端接到外接24V電源的負,還要把S/S端子跟外接24V電源的負短接起來,PNP型接近開關的+24V端接到外接24V電源的正。
【10】PLC的掃描周期是固定的,那么我怎么知道我寫的程序超過固有的掃描周期呢,有什么方法知道,且怎么延長掃描周期呢?
答:如果要知道當前的掃描周期,可以直接從PLC的特殊寄存器D8010中讀取;如果PLC里面有特殊存儲器可以用來設定恒定掃描周期,那么只需要給這個特殊存儲器中設定指定的數值,就可以改變掃描周期的時間。
【11】請問“MOVK0K2Y0"的意思是說把Y0--Y7復位,那么為什么”MOVK1K2Y0“卻不是把Y0--Y7置位的呢?而只是單把Y0置位的?
答:指令中的K2Y0是組合位元件,代表的是Y0-Y7,MOVK0K2Y0指令傳送0到K2Y0,實質傳送的是二進制數,0的二進制數是B00000000,所以是將Y0-Y7復位,MOVK1K2Y0指令傳送1到K2Y0,1的二進制數是B00000001,所以是對Y0置位為1,而不是把Y0-Y7都置位。
【12】在梯形圖中輸入T1K20,顯示軟元件設置不正確是怎么回事
答:在梯形圖中輸入T1K20,顯示軟元件設置不正確,是因為T1和K20中間沒有空格,空格多少沒有規定,但至少要空1格。正確的輸入方法是:OUTT1K20,注意OUT和T1,T1和K20之間都要留有空格,輸入定時器指令時還需要注意不要將字母O與數字0混淆。
【13】例如X001控制T5,T5的延時為50S,那X001是否需要接通50S,T5才動作?還是只需接通就可以了?
答:X001需要接通50秒,T5才動作。因為X001是定時器的驅動條件,而T5是屬于通用型定時器,當驅動條件X001斷開,那么定時器會復位,不再計時。
【14】實我手上有臺FX1N-40MR-001的PLC,輸出端(Y側)有幾個COM端子:COM1.COM2,COM3,COM4,COM5,怎么用用啊,究竟對應Y里面著哪些Y端子啊?
答:因為輸出負載包括接觸器、繼電器線圈、電磁閥線圈、指示燈、喇叭等,各種負載的電源性質可能不相同。為了適應不同的負載電源,所以PLC把輸出端分成幾組,同一組端口的負載電源是相同的,不同組的端口可以接不同的電源。
FX1N—40MR輸出為4點共端,即每個4個輸出點一個公共端。稱作4點共端。其對應關系是COM1為YO—Y3的公共端。COM2為Y4—Y7的公共端。以此類推。
【15】輸出輸入端的那幾個黑點端有什么用的?
答:輸出輸入端的那幾個黑點端是為了配合PLC的整體結構而留下的空端子,內部沒有接線,是無用的端子,不用做任何接線。空端子不能作接線端子使用,如果使用,會對PLC產生干擾。
【1】PLC的輸出是不帶電源的嗎?比如說我要控制個110V繼電器。是不是要加個電源?怎么接線?
答:PLC的輸出端口僅僅是一個驅動負載的開關,本身是不帶電源的,如果要控制個110V繼電器,要加個電源。PLC的輸出端接到繼電器的線圈,繼電器還要接到220V交流電源,PLC的COM端也接到220V交流電源。
【2】為什么輸入端口的地址沒有X8,X9?
答:三菱PLC的輸入繼電器和輸出繼電器都是以八進制進行編址的,所以只能是X0-X7,而沒有X8,X9,X7后面的地址應該是X10。
【3】PLC輸出回路中需要加入保險絲嗎?
答:PLC輸出回路中需要加入保險絲,因為當負載一旦發生短路或故障時,容易燒壞觸點或晶體管,還會燒壞輸出電路所在的印制電路板,因此,需要在負載回路上加入起短路保護作用的保險絲。
【4】PLC我想利用編程口與變頻器通信,可以嗎?
答:三菱FXPLC可以使用自帶的編程口和變頻器通信,但是要使用變頻器通信專用指令。變頻器通信指令由于受到通信協議的限制,并不是對所有品牌的變頻器都適用,一般來說,三菱PLC的變頻器通信指令只能對三菱的變頻器進行通信控制,而不能對其他品牌的變頻器進行通信控制。
【5】FX2NPLC怎么和觸摸屏連接,要設置什么參數嗎?
答:FX2NPLC要和觸摸屏連接,可以用SC-09電纜的圓口插PLC的編程口,串口接到觸摸屏的串口上,此外,還要在觸摸屏端的系統參數設置里面設置好使用的PLC類型為FX2N、接口類型為RS232、以及設置端口、波特率等,在PLC編程軟件的參數里面設置的端口、波特率、校驗位、數據位、停止位等要與觸摸屏的設置保持一致,這樣就可以使FX2NPLC觸摸屏連接起來。
【6】老師FX2NPLC如果拔掉電池程序會不會丟失啊?
答:一般來說,因為PLC內部有充電電容,即使把電池拔掉,電容上充電電量也足夠RAM內的數據保持一段時間,所以如果拔掉電池后在短時間內(通常5分鐘)再將新電池換上去,程序是不會丟失的,如果拔掉電池長時間不更換新電池上去,程序則會丟失。
【7】咨詢一下三菱FX1N和2N的PLC可以各用哪款直接代替,三菱官網通知1N和2N都停產了,我們有些設備都是用的這兩款,想趕緊找下可以直接代替的備上,以備急用。
答:可以選擇FX3U的PLC,但是替換之前一定要查看原來的程序中所使用的指令在FX3UPLC是否支持,以及原來的程序中所使用的相關系統存儲器是否與FX3UPLC相同,如果相同才可以替換。
【8】老師,我想在FX3UPLC的輸入端口接入無源開關,XO—X3使用內置24V電源,而在X10—X13使用外置電源?應如何接線?
答:

【9】一個PNP型三線制接近開關,應如何接入FX3UPLC的輸入端口。
答:把PNP型三線制接近開關的信號輸出端接PLC的輸入口如X0,PNP型接近開關的0V端接到PLC上的0V端子,還要把S/S端子跟0V端子短接起來,PNP型接近開關的+24V端接到PLC上的24+端子。如果是外接24V電源的話,那么把PNP型三線制接近開關的信號輸出端接PLC的輸入口如X0,PNP型接近開關的0V端接到外接24V電源的負,還要把S/S端子跟外接24V電源的負短接起來,PNP型接近開關的+24V端接到外接24V電源的正。
【10】PLC的掃描周期是固定的,那么我怎么知道我寫的程序超過固有的掃描周期呢,有什么方法知道,且怎么延長掃描周期呢?
答:如果要知道當前的掃描周期,可以直接從PLC的特殊寄存器D8010中讀取;如果PLC里面有特殊存儲器可以用來設定恒定掃描周期,那么只需要給這個特殊存儲器中設定指定的數值,就可以改變掃描周期的時間。
【11】請問“MOVK0K2Y0"的意思是說把Y0--Y7復位,那么為什么”MOVK1K2Y0“卻不是把Y0--Y7置位的呢?而只是單把Y0置位的?
答:指令中的K2Y0是組合位元件,代表的是Y0-Y7,MOVK0K2Y0指令傳送0到K2Y0,實質傳送的是二進制數,0的二進制數是B00000000,所以是將Y0-Y7復位,MOVK1K2Y0指令傳送1到K2Y0,1的二進制數是B00000001,所以是對Y0置位為1,而不是把Y0-Y7都置位。
【12】在梯形圖中輸入T1K20,顯示軟元件設置不正確是怎么回事
答:在梯形圖中輸入T1K20,顯示軟元件設置不正確,是因為T1和K20中間沒有空格,空格多少沒有規定,但至少要空1格。正確的輸入方法是:OUTT1K20,注意OUT和T1,T1和K20之間都要留有空格,輸入定時器指令時還需要注意不要將字母O與數字0混淆。
【13】例如X001控制T5,T5的延時為50S,那X001是否需要接通50S,T5才動作?還是只需接通就可以了?
答:X001需要接通50秒,T5才動作。因為X001是定時器的驅動條件,而T5是屬于通用型定時器,當驅動條件X001斷開,那么定時器會復位,不再計時。
【14】實我手上有臺FX1N-40MR-001的PLC,輸出端(Y側)有幾個COM端子:COM1.COM2,COM3,COM4,COM5,怎么用用啊,究竟對應Y里面著哪些Y端子啊?
答:因為輸出負載包括接觸器、繼電器線圈、電磁閥線圈、指示燈、喇叭等,各種負載的電源性質可能不相同。為了適應不同的負載電源,所以PLC把輸出端分成幾組,同一組端口的負載電源是相同的,不同組的端口可以接不同的電源。
FX1N—40MR輸出為4點共端,即每個4個輸出點一個公共端。稱作4點共端。其對應關系是COM1為YO—Y3的公共端。COM2為Y4—Y7的公共端。以此類推。
【15】輸出輸入端的那幾個黑點端有什么用的?
答:輸出輸入端的那幾個黑點端是為了配合PLC的整體結構而留下的空端子,內部沒有接線,是無用的端子,不用做任何接線。空端子不能作接線端子使用,如果使用,會對PLC產生干擾。
以上便是關于三菱PLC的編程答疑解惑為問答15題全文了。
相關內容
暫無留言!




評論信息